Pökomat P14/280Drucken
Baugruppenübersicht
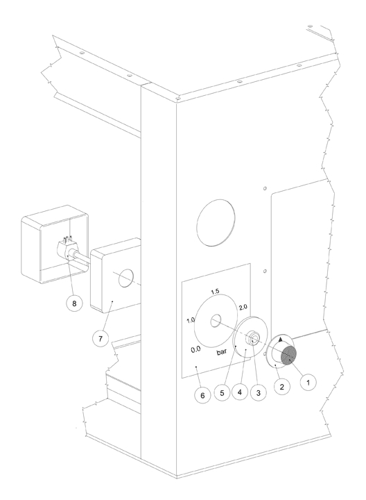
Bedientableau
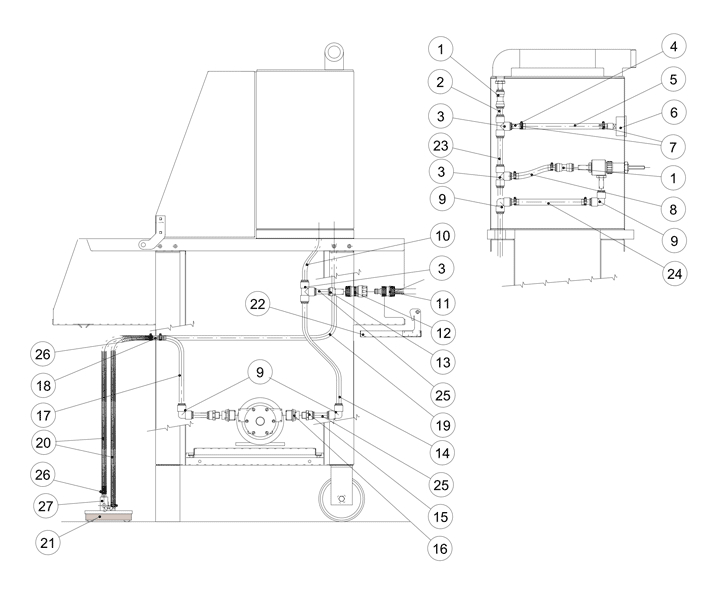
Druckluftführung...
Gehäuse
Fussgestell
Stützrahmen
Schutzabdeckung
Kurbeltrieb
Nadelführung
Verteilrohr
Antriebseinheit 5...
Antriebseinheit 6...
Vorschubantrieb
Vorschubgestänge...
Vorschub
Transportschlitte...
Einbau Messing-Pu...
Messing-Pumpe
Einbau Inox Pumpe...
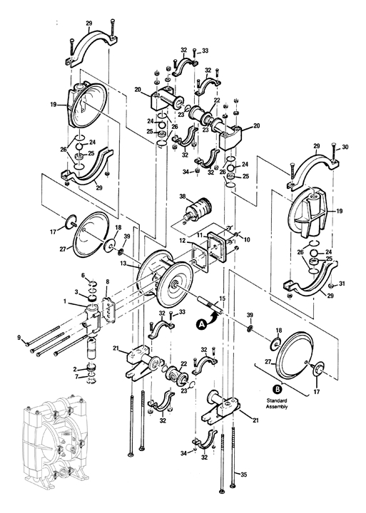
Pumpe INOX
INOX-Pumpe mit FP...
Einbau Membranpum...
Membranpumpe
Lakeführung
Ventil "Membranpu...
Ventil "SI und SL...
Potentiometer
Steuergehäuse
Zubehör
Optionen
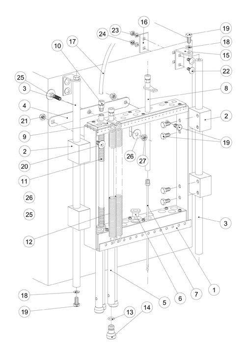
Explosionszeichnung: Vorschubgestänge
Ersatzteile - Stückliste: // Pökomat P14/280 // Vorschubgestänge
| Pos. | Menge | Benennung | Teilenummer | Bemerkung | Anzahl |
|---|
| 1 | 1 | Schwenkhebel kompl. | 09644 | ||
| 2 | 1 | Schwenkgabel | 09648 | ||
| 3 | 1 | Lagerblock | 09643 | ||
| 4 | 1 | Zugstab | 09649 | ||
| 5 | 4 | U-Scheibe | 05280 | ||
| 6 | 5 | Federring | 05295 | ||
| 7 | 2 | 6kt Schraube | 05025 | ||
| 8 | 2 | Senkschraube | 05171 | ||
| 9 | 2 | Mutter | 05235 | ||
| 10 | 1 | Gewindeplatte | 09699 | ||
| 11 | 2 | Büchse | 09578 |
0 Artikel