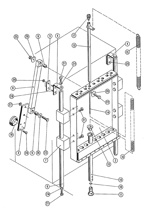
Explosionszeichnung: Antriebseinheit 60 Hz
Ersatzteile - Stückliste: // Pökomat P9/270 // Antriebseinheit 60 Hz
| Pos. |
Menge |
Benennung |
Teilenummer |
Bemerkung |
Anzahl |
| 2 |
1 |
Getriebe |
02570 |
|
|
| 3 |
1 |
Getriebeplatte |
02551 |
|
|
| 4 |
1 |
Motorplatte |
02550 |
|
|
| 5 |
1 |
Motor |
02610 |
|
|
| 5 |
1 |
Motor |
02608 |
|
|
| 5 |
1 |
Motor |
02606 |
|
|
| 6 |
1 |
Nabe |
02585 |
|
|
| 7 |
1 |
Riemenscheibe Motor |
02586 |
|
|
| 8 |
1 |
Riemenscheibe Getriebe |
02171 |
|
|
| 9 |
1 |
Kurvenscheibe |
01245 |
|
|
| 10 |
1 |
Mitnehmerbolzen |
01246 |
|
|
| 11 |
|
|
00000 |
|
|
| 12 |
1 |
Poly-V-Riemen Pumpe |
01360 |
|
|
| 13 |
2 |
Seegerring |
05461 |
|
|
| 14 |
1 |
Passfeder |
05499 |
|
|
| 15 |
1 |
Passfeder |
05498 |
|
|
| 16 |
1 |
Passfeder |
05507 |
|
|
| 17 |
3 |
Gewindestift |
05222 |
|
|
| 18 |
4 |
6kant-Schraube |
05004 |
|
|
| 19 |
2 |
Gewindeplatte |
02588 |
|
|
| 20 |
14 |
Federring |
05294 |
|
|
| 21 |
6 |
6kant-Schraube |
05002 |
|
|
| 22 |
2 |
6kant-Schraube |
05001 |
|
|
| 23 |
2 |
U-Scheibe |
01153 |
|
|
| 24 |
6 |
Mutter |
05234 |
|
|
| 25 |
2 |
Schloss-Schraube |
05216 |
|
|
| 26 |
2 |
Verdrehsicherung |
01826 |
|
|
| 27 |
4 |
6kant-Schraube |
05006 |
|
|
| 28 |
4 |
U-Scheibe |
05287 |
|
|
| 29 |
1 |
Drehrichtungspfeil |
00233 |
|
|
| 30 |
2 |
Stoppmutter |
05249 |
|
|